특허번호 제 10-2109029 호

고온 고압 전문기업 일신오토클레이브는 2017년도 중소벤처기업부 수출기업기술개발사업「전기식 액추에이터를 이용한 150 MPa급 나노소재용 분산장치 개발」 연구사업으로 개발하여, 분산기용 펌프 모듈에 대한 국내특허 등록을 완료하였다.
해당 모듈은 나노디스퍼져(고압분산기) 제품의 중요 부품 모듈로 사용되며, 1993년 설립된 ㈜일신오토클레이브는 고온·고압 기술을 응용한 오토클레이브 개발을 필두로 수많은 고온·고압 관련장비(Suflux)를 제작하고 있는 제조업체이다.

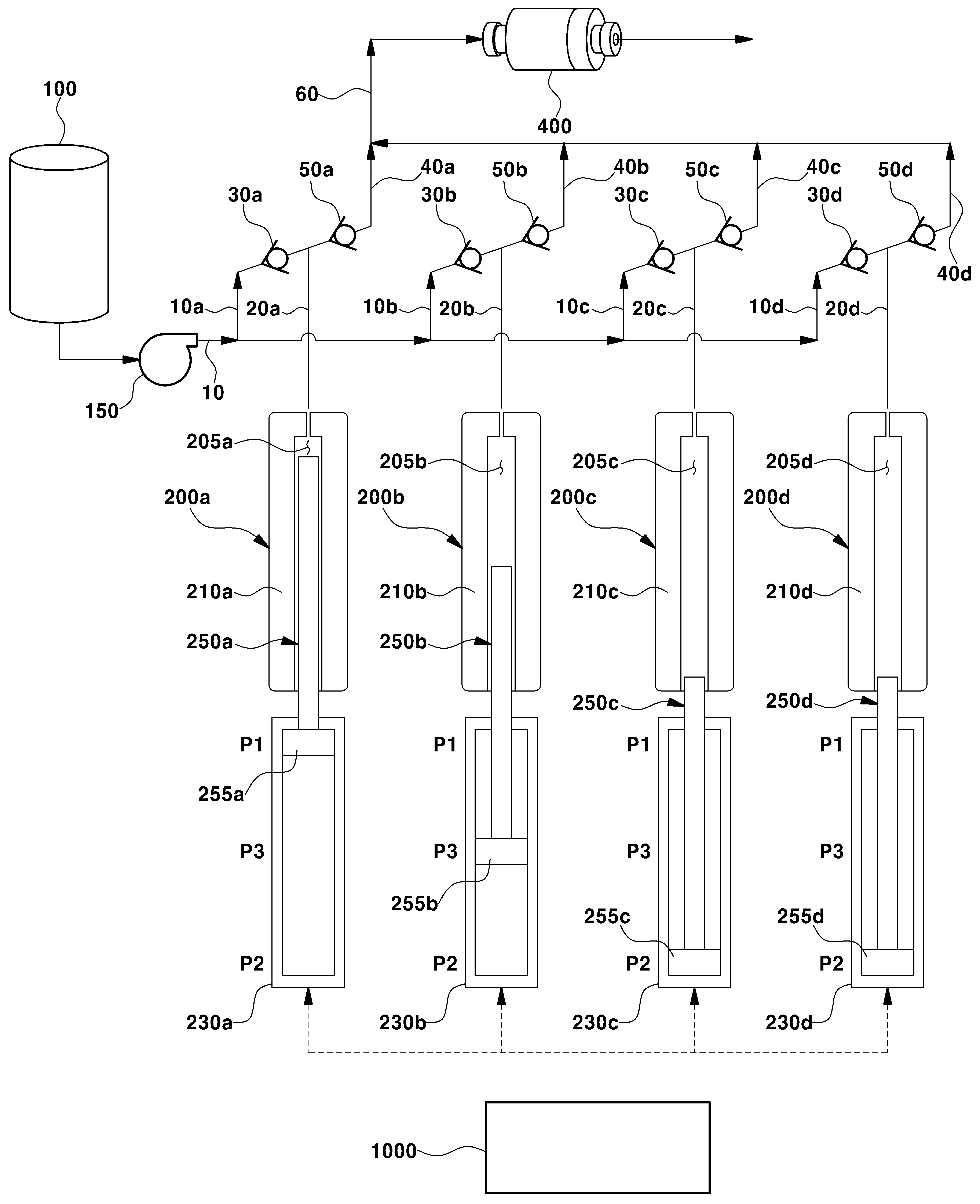
금번 등록된 특허 「분산기용 펌프 모듈」은 실시예에 따른 분산기용 펌프 모듈을 제공한다.공급 탱크로부터 제공된 원료에 압력을 가하기 위한 분산기용 펌프 모듈은 내부에 원료가 유입되는 공간을 정의하는 가압실을 가지는 복수개의 몸체들, 상기 가압실 에 유입된 원료를 가압하는 복수개의 플런저들 및 상기 플런저를 제어하는 제어부를 포함하고, 상기 제어부는 상 기 복수개의 플런저들 각각을 독립적으로 제어하되 상기 플런저들 각각의 위상이 서로 상이하도록 제어하여 원료 에 인가되는 압력의 맥동성을 제거에 관한 것이다.
| 마스크 착용에 따른 코로나19 전파 (0) | 2020.07.06 |
|---|---|
| [나노코리아2020] 일신오토클레이브, 초고압분산기/3롤밀 선보여 (0) | 2020.07.03 |
| 법정의무교육, 산업안전보건교육 이수 (0) | 2020.06.01 |
| [특허등록] 일신오토클레이브 조임용 지그장치를 위한 조임지그용 보조축을 구비한 초고압 플런져 펌프 (0) | 2020.05.29 |
| 나노코리아2020, 전시회 참가 소식 (0) | 2020.05.28 |